潮新闻讯 随着A股2024年年报和2025年一季报披露完毕,浙股(A股,下同)成绩单也全部亮相。723只浙股中,2024年净利超过10亿元的71只,与2023年持平;净利超过50亿元的7只,超过2023年的6只。
去年亏损超10亿元的浙股达到8只。光伏行业的东方日升2024年亏损34.36亿元,成为浙股的“亏损王” 。

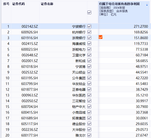
2024年最赚钱浙股前二十。数据来源:同花顺iFinD
去年净利前十强浙股
有九家交成历史最佳成绩单
据同花顺iFinD统计,2024年度,最赚钱浙股前十强分别为宁波银行、杭州银行、浙商银行、海康威视、浙能电力、卫星化学、新和成、宁波港、天山铝业、公牛集团,净利前十强门槛为42.72亿元,比上年的38.7亿元提高了10.39%。其中净利超百亿的四家,宁波银行以271.27亿元高居榜首,相当于每天赚7412万元;杭州银行净利首次超过浙商银行,两者相差近18亿元。潮新闻记者初步统计发现,净利前十强中,除海康威视外,其余九家均创下历史最佳业绩。
浙能电力曾在2014年以59.57亿元的净利夺得最赚钱浙股冠军,2015年以69.68亿元蝉联冠军(浙商银行当时未在A股上市)。2024年,浙能电力的净利达到77.53亿元,同比增长18.92%,超过2015年度创历史最佳。
浙能电力是浙江省内规模最大的发电企业,主要从事火电、气电、核电、热电联产、综合能源等业务,管理及控股发电企业主要集中在浙江省内。2024年,公司完成发电量1739.52亿度,上网电量1647.11亿度,同比分别增长6.56%和6.60%;实现用户侧供热量3554.51万吨,同比增长5.15%。2023年,公司取得创业板上市公司中来股份控制权,中来股份主要开展光伏辅材、高效电池及组件、光伏应用业务。

浙能嘉华电厂 图片来源:浙能电力官网
最赚钱浙股前十中,业绩增速最快的是新和成,去年净利58.69亿元,净利增速达到117.01%;其次是天山铝业,去年净利44.55亿元,净利增速也达到102.03%;业绩出现下滑的只有海康威视,下降了15.1%。

2024年最赚钱浙股前二十净利增幅。 数据来源:同花顺iFinD
723只浙股中,有594只实现盈利,比2023年的622只有所下降,占比为82%。
今年一季度,宁波银行、杭州银行、浙商银行继续稳居浙股净利前三,海康威视、新和成分别位居第四、第五位。一季度净利超过10亿元的浙股共12家,其中净利前十的浙股业绩同比均出现不同程度的增长,新和成、ST华通、华友钴业净利增速均翻倍以上。

今年一季度净利前二十浙股。 数据来源:同花顺iFinD