中国经济周刊—经济网讯 9月10日晚,网友在李佳琦直播间发表评论“花西子越来越贵了”,被李佳琦回怼引发争议。李佳琦此番言论,不仅评论区翻车,李佳琦的微博粉丝也在减少。截至发稿,李佳琦微博粉丝2974.7万,比出事前少了近69万,并且还在不断掉粉。


对于此事,有媒体询问花西子官方客服,工作人员表示,“我们店铺的产品它性价比是比较高的,如果你有购买的需求,也可以尝试一下,相信不会让你失望的。”目前没有接到和李佳琦直播间暂停合作的通知。

据上游新闻报道,花西子早期仅在李佳琦等直播平台上的每月营销投入就高达2000万元。若以2019年5-6月,月均不到1亿的总GMV计算,花西子光仅在直播平台的营销支出就已超过20%。柯润东的研究也曾显示,花西子也曾大力与腰部主播合作,但带来的营收低于10%。而李佳琦一人,就给花西子带来20%以上的营收。据金融界报道,有媒体统计称,仅2020年一年内,花西子在李佳琦的直播间就出现了77次。从销售数据上看,花西子从2019年一个在天猫销量难入前20的美妆新品,到2020年618销售额超过1.9亿元,登顶天猫GMV第一,这一切只用了16个月时间。针对网上流传的80%佣金问题,花西子客服表示暂不清楚。
另据公开信息显示,花西子申请了177个专利,但是其中超过一半都是产品外包装设计。对此,有网友称:“感觉我就是买盒子的”“他家真的很喜欢出花里胡哨的礼盒”“花西子美是真的美,曾买过一个热门色号的口红,颜色美,但真涂抹不均,用不了”。
天眼查App显示,花西子关联公司浙江宜格企业管理集团有限公司成立于2016年7月,注册资本5000万人民币,法定代表人、执行董事兼总经理为张大勇,经营范围含企业总部管理、企业管理咨询、化妆品零售、批发等,由吴成龙和吴成宝分别持股99%、1%。该公司投资的5家企业中,仅浙江百年宜格实业发展有限公司为存续状态。知识产权信息显示,该公司已注册上百枚“花西子”商标。
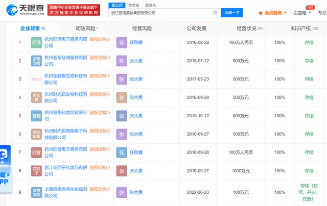
花西子另一家关联公司浙江宜格美妆集团有限公司成立于2021年11月,注册资本约5154万人民币,其法定代表人为张大勇,由宜格国际投资发展(海南)有限公司、创进投资有限公司共同持股。对外投资信息显示,该公司全资持股9家企业,包括浙江花西子化妆品有限公司、杭州花凝香生物科技有限公司、杭州宜格化妆品有限公司等,版图涉及化妆品、生物科技、电子商务、仓储服务等。




此外,天眼查App显示,李佳琦共关联19家企业,包括宁波镁麒电子商务有限公司、上海李佳琦文化传媒工作室、上海人间唢呐管理咨询有限公司等。花西子品牌也关联多家企业,包括浙江宜格企业管理集团有限公司、浙江宜格美妆集团有限公司、杭州花凝香生物科技有限公司等。股权穿透信息显示,李佳琦名下企业与花西子并无直接股权关联。
